中购联手机网
上海苏河湾万象天地正式开业;中信泰富&中船摘广州新“地王”需建大型商业综合体......
时间:2022-11-02
来源:铱星云商新媒体中心
铱星导读
市场
1.厦门:到2023年,城市更新试点工作将取得明显成效
项目动态
2.上海苏河湾万象天地正式开业
3.先施百货内地首家购物中心在深圳开业
4.世界最大单体免税店将于海口开业
5.小众先锋时尚品牌DSMB由三里屯太古里迁址王府中环,原位置或将入驻LV之家
商业地产企业资讯
6. 广州第三轮土拍:中信泰富&中船摘得 “地王”,华润万象系商业或将落子荔湾
7.王府井:获准在海南万宁经营离岛免税业务,免税港拟明年1月开业
8.碧桂园文商旅签约惠州唐鸿时代广场项目和雅安廊桥项目
品牌新店
9.日本头部帽子品牌「CA4LA」中国首店登陆深圳万象城
10.初茶CHUCHAT广州首家直营店开业
11.罗森首家无感支付门店正式开业
12.高端家电品牌嘉格纳中国首家旗舰店落址上海静安
13.和府捞面首家“咖啡+拉面”便利快餐店在上海开业
14.法式冰淇淋面包品牌Luneurs西南首店进驻成都IFS
15.周大福全球首家“颂”主题体验店落地武汉楚河汉街
16.邮政再跨界开生鲜超市
17.Tims中国新开咖啡店主打“日咖夜酒”模式
其它品牌资讯
18.喜茶在50余家门店推出真果现剥透明窗口
19.椰子茶品牌「茶大椰」获近千万元融资
20.蔚来申请咖啡商标“NIO Café”
21.星巴克中国董事长王静瑛将任CEO,原CEO蔡德粦休假1年
22.优衣库年收入逼近2万亿日元,中国市场占比近1/4
来源 | 铱星云商新媒体中心
1.厦门:到2023年,城市更新试点工作将取得明显成效
《厦门市实施城市更新行动的指导意见》近日发布。根据《指导意见》,到2023年,城市更新试点工作将取得明显成效,打造一批体现厦门特色、代表厦门水平的城市更新试点项目;到2025年,建立健全城市更新工作机制、实施模式、支持政策、技术方法和管理制度,持续实施完成一批城市更新项目,推动全市空间布局更加优化、城市功能更加完善、产业空间持续拓展、人居环境更加优美、风貌特色更加突出。
2021年11月,厦门市成为住建部首批城市更新试点,旨在因地制宜探索城市更新的工作机制、实施模式、支持政策、技术方法和管理制度,推动城市结构优化、功能完善和品质提升,形成可复制、可推广的经验做法。
2.上海苏河湾万象天地正式开业
10月13日,由6万平方米开放式商业空间、4.2万平方米城市绿地公园构成,并拥有优秀历史文化保护建筑“天后宫”“慎余里”的大型城市综合体——上海苏河湾万象天地,在静安苏河湾滨水核心区启幕。项目由华润置地与信德集团联合打造,分为东里和西里两部分,以在绿地公园架起的285米的天桥连廊相连接。商业氛围主要集中在地下部分,地面层更专注于打造半开放式的生活、社交新空间。

图源:ShanghaiWOW
目前,苏河湾万象天地入驻140多个品牌,全国首店、上海首家、区域首进等重磅店铺逾70%,为消费者提供轻户外“两栖”生活方式及宠物友好体验。包括新锐时尚设计师及买手品牌,如:BIBILEE STUDIO、INXX CONCEPT STAGE、THISNORTHAT、RuirUirul、24ans等上海首店;Unawares.上海全新概念店;Hashtag、PRO101等区域首店;BLUEBOX购物中心首店;BOOCUP书店&娱乐联合概念店等。全时段高能级餐饮企业,如:高端鲁采跨界美术馆联合店、叁楼伴•金锅海鲜、闽和南•欢席、星巴克臻选慎余里非遗概念店,以及LOKAL、luneurs、FASCINO、%、Cellar to table、BoboLEE等网红轻餐下午茶等。轻户外生活方式,如Flow全国首店、Inlang上海首店、Jumplify室内蹦极运动区域首店等。及宠物友好体验业态。
3.先施百货内地首家购物中心在深圳开业
10月1日,伟禄集团旗下子公司先施的内地首家购物中心——先施购物中心正式开业,伟禄集团也由此正式开启了零售与物业协同发展新模式。先施购物中心位于深圳龙华区伟禄雅苑裙楼,商业面积约3万平米,现已有包括知名品牌儿童游乐场、电影院及大型餐饮集团在内的几十家商户入驻。

资料显示,伟禄集团物业投资项目分别位于深圳南山区、龙华区和光明区。其中,位于龙华区伟禄雅苑的先施购物中心现已正式开业。另外四个不同类型的城市更新项目即冠彰电器厂、莱英花园、伟禄科技园及樟坑径工业园也正在稳步推进中,未来将被集团打造成汇聚生活配套、娱乐休闲、亲子教育和特色餐饮于一身的商务及购物中心。
4.世界最大单体免税店将于海口开业
“世界最大单体免税店”——cdf海口国际免税城将于10月28日开业。据了解,cdf海口国际免税城项目紧邻海口重要的交通枢纽新海港,是以免税商业为流量入口,“免税+文旅”双轮驱动的旅游零售综合体。整个项目总建筑面积93万平方米,由六个地块组成,涵盖免税商业、有税商业、高档办公、高端酒店、人才社区等多种业态,满足商旅休闲、度假居住、办公艺展等复合功能,致力于打造全球首个免税商业文旅休闲目的地,目前已有超过800个国际国内知名品牌确认入驻海口国际免税城。

5.小众先锋时尚品牌DSMB由三里屯太古里迁址王府中环,原位置或将入驻LV之家
据时尚商业快讯,Dover Street Market Beijing(简称DSMB)于10月8日正式结束营业并从北京三里屯太古里撤店。有多个业界零售人士称,DSMB将在一个月后入驻王府中环,而接替DSMB的将是LV之家。除DSMB外,三里屯太古里实际上正在开展一系列密集调整。据悉,与DSMB一样从三里屯太古里北区撤店入驻王府中环的还有奢侈品牌Balmain。此外,包括Gentle Monster等在内的一些品牌也已经从北区迁入南区。

图源:LADYMAX
三里屯太古里今年的重点即北区业态升级改造。朝阳区商务局称,本次升级改造将邀请国际级建筑大师,打造中国首个以单体建筑形态呈现的顶尖奢侈品全球旗舰店集群,旨在将每个独立店铺打造成独特的具有全球影响力的时尚地标。
6. 广州第三轮土拍:中信泰富&中船188亿摘得广州“地王”,华润万象系商业或将落子荔湾
10月10日,广州迎来2022年第三批次18宗涉宅用地出让,最终共成交15宗,合计成交金额479.2亿元,成交总建面353.1万平米。其中央企保利发展、华润、中铁建、中信+中船各竞得1宗,其余多为地方国企竞得。
其中,中信泰富&中船以底价187.6亿元摘得的荔湾区芳村大道南以东地块;原来规划为恒大足球场的番禺区谢村居住及商业商务地块被广州城投以底价31.55亿元摘得;在二次供地中流拍的天河区育新街南侧地块则被中建四局联合体以20.67亿元竞得;华润以底价38.58亿元落子荔湾。

图源:中指数据
值得注意的是,中信泰富&中船摘得的荔湾芳村大道地块,即“巨无霸”广船地块,为此轮广州供地中的“最高总价”,该地块建设用地面积130670平方米,规划建筑面积979655平方米。开发商须配建办公物业计容建面50000平方米,项目建成后,开发商还需自持10年计算容积率建筑面积18万平方米的商业商务物业。根据规划,未来不仅要打造成一个城市商业综合体,还将建设一个滨江船厂原址主题公园。

华润竞得地块出让面积3.08万平,土地用途为商住用地,容积率6.51,建筑面积20.05万平,华润置地以低价38.58亿元竞得,成交楼面价19236元/㎡,业内预测或将落子万象系商业。
7.王府井:获准在海南万宁经营离岛免税业务,免税港拟明年1月开业
10月9日,王府井集团股份有限公司发布公告称,公司获准在海南省万宁市经营离岛免税业务,王府井国际免税港位于原万宁首创奥特莱斯项目区域,经营面积10.25万平方米,运营方王府井集团正在抓紧开展装修和备货,计划于2023年1月开业。

图源:消费日报网
8.碧桂园文商旅签约惠州唐鸿时代广场项目和雅安廊桥项目
碧桂园商业微信公众号10月14日公布,近日,碧桂园文商旅集团完成签约2宗项目,分别位于广东惠州及四川雅安。
据悉,碧桂园文商旅集团与惠州市唐鸿实业投资有限公司就惠州唐鸿时代广场完成签约,将旗下商业产品线“碧乐汇”引入当地。本次签约的惠州唐鸿时代广场位于惠州市博罗县园洲镇,商业总体量3.6万平方米。此次签约,碧桂园文商旅集团将原有项目升级为惠州博罗碧乐汇。

惠州博罗碧乐汇
而于四川雅安,碧桂园文商旅集团签约的是廊桥商业街区,位于雅安城区中心位置,商业总体量1.2万平方米。该项目为雅安市属国有资产。此次签约,碧桂园将城市特色与时尚商业做有机融合,将原有项目升级为“雅州廊桥•沉浸式文旅街区”,打造雅安文商旅超级地标。

雅州廊桥·沉浸式文旅街区
值得注意的是,截至目前,碧桂园文商旅集团在管商业项目总数超130个,合约面积超800万平方米;长租公寓布局储备房源6万间,在营及筹建房源超2万间。
9.日本头部帽子品牌「CA4LA」中国首店登陆深圳万象城
10月1日,日本头部帽子品牌「CA4LA」中国首店在深圳万象城开业。据了解,CA4LA于1997年在东京创立,用精工匠心打造适合亚洲人脸型的帽子,提供从礼帽到渔夫帽等丰富的帽款,且100%由日本制造,在日本拥有较高知名度。值得一提的是,目前该品牌上海首店已在芮欧百货围挡。

10.初茶CHUCHAT广州首家直营店开业
近日,初茶CHUCHAT广州首家直营店在正佳广场开业。初茶CHUCHAT是“海盐冰茶”的首创者,品牌一直坚持初心,只为做出一杯好茶。目前,该品牌在广州、深圳、东莞等地开设了160多家门店。

11.罗森首家无感支付门店正式开业
近日,罗森无感支付门店于上海晶耀前滩正式开业。罗森无感支付门店选址于此,也将为在这里工作的白领人群以及到这里购物的消费者们提供“即拿即走,无感支付”的极简购物体验,打造极具科技感、未来感的潮流生活。据悉,这是上海罗森引入云拿科技(Cloudpick)AI无人零售解决方案推出的首家无感支付智能门店。

图源:罗森新奇GO
12.高端家电品牌嘉格纳中国首家旗舰店落址上海静安
近日,全球顶级家电品牌GAGGENAU嘉格纳上海旗舰店——“嘉邸”于静安区威海路299号正式开业。该独栋旗舰店营业面积1500多平方米,共有四层:一层是嘉格纳品牌体验区;二层为四大厨房场景,还原家庭厨房的模样;三层是办公区;四层为VIP区域。在全球25家嘉格纳旗舰店中,“嘉邸”是最新、最大,也是产品最全的旗舰店,共有近200个产品让用户参观、体验。据了解,嘉格纳起源于德国,隶属于博西家电集团,有300多年的历史,目前已经在全球设立了25家旗舰店,上海是嘉格纳在中国市场开出的第一家旗舰店。

来源:电器杂志社
13.和府捞面首家 “咖啡+拉面”便利快餐店在上海开业
近日,和府捞面旗下新副牌“Pick me 咖啡&热食”在上海外滩SOHO开出首家门店。新店名称为“PICK ME 一根拉面”,由主打咖啡的“Pick ME 咖啡&热食”品牌与主打拉面便利店的“一杯拉面”品牌组合而成。该店面积不足20平米,主打便利店场景,产品由“咖啡+中式快餐+烘焙+小吃”混搭而成,其中咖啡和面的套餐定价为26.9元,客单28元左右。

图源:职业餐饮网
14.法式冰淇淋面包品牌Luneurs西南首店进驻成都IFS
10月15日,法式冰淇淋面包品牌Luneurs西南首店在成都IFS国际金融中心开业,Luneurs首家门店于2018年诞生于上海。此次开业的西南首店外围是复古红砖的装修风格,门店还推出了限时7天的快闪活动,打造了冰淇淋花园、书刊亭等打卡点,吸引了众多消费者提前打卡。目前,Luneurs已开设16家门店,均坐落于上海,遍布热门区域。此次开出的成都首店也是品牌首次走出上海外开店,深圳万象城店也已围挡。

15.周大福全球首家“颂”主题体验店落地武汉楚河汉街
10月10日,周大福全球首家“颂”主题体验店于武汉楚河汉街开业。体验店以“优雅装扮”为设计主线,巧妙融合了装扮时使用的口红、化妆镜、高贵香水等元素,让顾客在选购的同时,体验到精心打扮的喜悦心情。“颂”主题体验店还将“优雅装扮”与武汉的樱花特色元素相结合,不同层次的樱花粉搭配调和成门店主色调,并将樱花的花簇、花形、花瓣艺术化处理后巧妙融入分店的外墙、天花、柜身等每一处细节造型中,甚至灯泡的钨丝形状亦是樱花。给“樱花之城”的武汉增添一份新的浪漫和魅力。

16.邮政再跨界开生鲜超市
据“苏邮文化”消息,近期,位于江阴市南街144号的苏锡杭生鲜超市正式开业运营,带有浓浓的中国邮政色彩,这也是其跨界开的首家生鲜超市。该生鲜超市是在乡村振兴战略背景下,江阴邮政分公司与该市农业农村局、家庭农场主等多方合作,打造的一个助农、惠农、利民项目。据了解,苏锡杭生鲜超市分为楼上楼下两层,共317平方米,分为蔬菜、水果、水产、粮油米面等农产品展销区。目前已开放一楼100多平方米,吸引了多家农场主和供应商上百款产品进场展销。

17.Tims中国新开咖啡店主打“日咖夜酒”模式
近日,Tims中国在上海开出了两家Tims“Coffee&Beer”门店,主打“日咖夜酒”模式。门店外观方面,整体设计风格较为年轻,以年轻消费群体喜爱的飞盘和花盘用作装饰,店内还有许多“日咖夜酒”“早C晚A”“Coffee&Beer”的字样,强调了门店同时具备咖啡和酒精产品的特点。产品方面,除了常规的咖啡产品之外,该门店还提供31款啤酒和小食等产品。Tims小程序显示,啤酒产品售价在25-58元之间,纸质菜单上的小食产品售价在12-68元之间。该门店营业时间为早上7点至凌晨24点,咖啡和啤酒产品全天有售,可在小程序上点单。晚上5点后,店内会提供小吃品类。

图源:知消
关于品牌的未来发展规划,Tims中国相关负责人表示,Tims“Coffee&Beer”门店为Tims中国的新尝试,未来是否继续开更多的门店取决于门店的表现,目前还只是试验阶段。
18.喜茶在50余家门店推出真果现剥透明窗口
据北京商报消息,10月10日,喜茶在多地门店推出了真果现剥透明窗口,能够直观地看到喜茶员工对水果进行剥皮、去核、切丁、捣制等制作过程,消费也能直观了解到门店准备了哪些水果、水果的外观及成熟度等细节。据悉,喜茶真果现剥窗口已在北京、上海、深圳等城市共50余家门店落地,其他门店也在陆续推进中。

19.椰子茶品牌「茶大椰」获近千万元融资
近日,新式椰子茶品牌茶大椰完成近千万元融资,投资方为青藤文化。本轮融资主要用于茶大椰国内门店拓展和市场布局。据了解,茶大椰创办于2021年,通过将椰子和茶作为主打,开创了“椰子茶”新品类。目前,茶大椰已经开出了60+家门店。2023年,预计将拓展到300+家门店。

来源:投资界
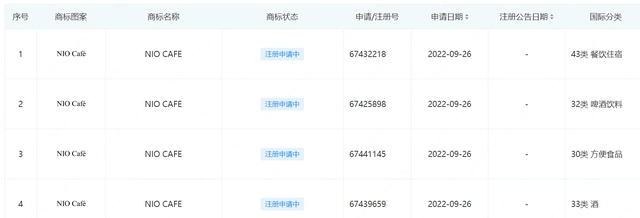
20.蔚来申请咖啡商标“NIO Café”
上海蔚来汽车有限公司申请注册4枚“NIO CAFE”商标,国际分类为啤酒饮料、酒、餐饮住宿、方便食品,商标状态均为“商标申请中”。

21.星巴克中国董事长王静瑛将再任CEO,原CEO蔡德粦计划休假1年
10月11日,在2023财年的第一场伙伴论坛上,星巴克中国宣布,该公司当前董事长王静瑛将重新担任星巴克中国首席执行官。同时,现任星巴克中国首席执行官蔡德粦将担任中国管理团队的顾问,关注门店开发,市场营销和产品创新相关事务,直至2023年1月1日开始为期一年咖啡假期。
22.优衣库年收入逼近2万亿日元,中国市场占比近1/4
日前,优衣库母公司、日本快时尚巨头迅销集团发布2022财年财报,在截至8月31日的12个月内,其销售额同比增长7.9%至2.3万亿日元,营业利润大涨19.4%至2973.25亿日元,净利润大涨60.9%至2733亿日元。其中主品牌优衣库整体销售额同比增长近9%至1.93万亿日元,中国成为优衣库全球第二大市场,报告期内销售额增长1.1%至5385亿日元,在品牌总收入中的占比为23.4%,仅次于日本业务的35.2%。而优衣库在中国拥有的门店数量逼近900家,已经超过日本本土市场。
版权与免责声明
1、"中购联网"的所有作品,包括文字与图片,未经本网授权不得转载。违反上述声明者,本网将依法追究法律责任。
2、凡注明"来源:非本站"的作品,均转载自其它媒体,本网转载的目的在于传播更多信息,此类稿件并不代表本网观点,本网不承担此类稿件侵权行为的直接责任及连带责任。
3、如因作品内容、版权等需要同本网联系的,请在作品在本网发表之日起30日内联系,否则视为放弃相关权利。